储能界获悉,12月15日,国家电网有限公司在新能源云官网发布《关于公布2025年第十二批可再生能源发电补贴项目清单的报告》,对通过国网新能源云平台申报纳入可再生能源发电补贴清单,经国家电网初审、省级主管部门确认、国家可再生能源信息管理中心复核后,按规定完成公示程序的项目予以公布。
此次纳入2025年第十二批可再生能源发电补贴清单的项目共9个,核准/备案容量165.2兆瓦,其中:集中式发电项目1个、核准/备案容量102兆瓦,分布式发电项目8个、核准/备案容量63.2兆瓦。此次变更可再生能源发电补贴清单的项目共28个,核准/备案容量393.9兆瓦,其中:集中式发电项目9个、核准/备案容量354.4兆瓦,分布式发电项目19个、核准/备案容量39.5兆瓦。
其中,集中式发电项目1个:
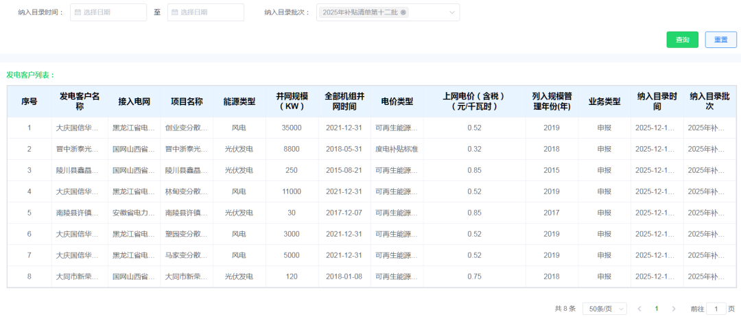
非自然人分布式发电项目8个:
附通知:
关于公布2025年第十二批可再生能源发电补贴项目清单的报告
根据《财政部 国家发展改革委 国家能源局关于促进非水可再生能源发电健康发展的若干意见》(财建〔2020〕4号)、《财政部 国家发展改革委 国家能源局关于印发
此次纳入2025年第十二批可再生能源发电补贴清单的项目共9个,核准/备案容量165.2兆瓦,其中:集中式发电项目1个、核准/备案容量102兆瓦,分布式发电项目8个、核准/备案容量63.2兆瓦。此次变更可再生能源发电补贴清单的项目共28个,核准/备案容量393.9兆瓦,其中:集中式发电项目9个、核准/备案容量354.4兆瓦,分布式发电项目19个、核准/备案容量39.5兆瓦。
国家电网有限公司
2025年12月15日
详情请登录新能源云平台查询:
https://sgnec.sgcc.com.cn/atlas/projectListQuery