搜索
首页
政策法规
国际资讯
返回
国际动态
国际项目
行业活动
国内资讯
返回
企业动态
储能项目
储能技术
储能科普
联系我们
首页
政策法规
国际资讯
返回
国际动态
国际项目
行业活动
国内资讯
返回
企业动态
储能项目
储能技术
储能科普
联系我们
none
国内资讯
企业动态
储能项目
储能技术
储能科普
您当前的位置:
首页
>
国内资讯
>
企业动态
浙江瑞安迎峰度夏(冬)电力保供补贴实施方案:用户侧储能顶峰补贴1元/千瓦时
2024-06-25
据储能界了解到,6月24日,浙江省瑞安市发展和改革局公示《瑞安市迎峰度夏(冬)电力保供补贴实施方案》,方案提到,主要对象是供电电压等级10千伏及以上(含20、3...
招标 | 3000万!南网科技储能一次舱设备框采
2024-06-25
据储能界了解到,6月24日,南方电网发布储能一次舱设备框架采购招标公告。项目预算金额为3000万,按标的金额划分2个标包,标包1为60%,标包2为40%。采购清...
中标 | 1.6~1.67元/Wh!广东30MW复合光伏项目配套储能EPC总承包
2024-06-25
据储能界了解到,近日,揭西五经富镇30MW复合光伏项目配套储能EPC总承包工程中标候选人公示。第一中标候选人为(主)深圳库博能源股份有限公司(成)广东岭南设计院...
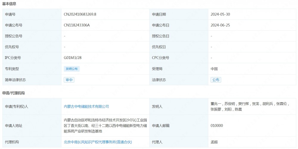
中电储能申请公布一项发明专利:“液冷储能电池组的漏液检测方法及系统”
2024-06-25
据储能界了解到,企查查显示,内蒙古中电储能技术有限公司申请公布一项发明专利,专利名为“液冷储能电池组的漏液检测方法及系统”,专利申请公布号为CN11824330...
中标 | 1.541元/Wh!国网江苏综能中标5MW/10.16MWh储能电站项
2024-06-25
据储能界了解到,6月24日,健鼎(无锡)电子有限公司储能电站项目中标结果公示。公告显示,国网江苏综合能源服务有限公司中标该项目,中标价格为15658251.76...
<<
<
2700
2701
2702
2703
2704
>
>>