搜索
首页
政策法规
国际资讯
返回
国际动态
国际项目
行业活动
国内资讯
返回
企业动态
储能项目
储能技术
储能科普
联系我们
首页
政策法规
国际资讯
返回
国际动态
国际项目
行业活动
国内资讯
返回
企业动态
储能项目
储能技术
储能科普
联系我们
none
国内资讯
企业动态
储能项目
储能技术
储能科普
您当前的位置:
首页
>
国内资讯
>
企业动态
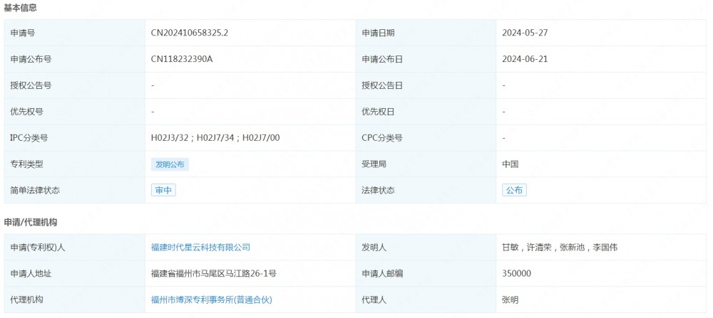
时代星云申请公布一项发明专利:“一种储能架构下扩容电池的运行方法及终端”
2024-06-21
据储能界了解到,企查查显示,福建时代星云科技有限公司申请公布一项发明专利,专利名为“一种储能架构下扩容电池的运行方法及终端”,专利申请公布号为CN1182323...
总投资230万元!川润长银科创园1.5MWh用户侧储能项目获备案
2024-06-21
据储能界了解到,近日,川润长银科创园1.5MWh用户侧储能项目获得备案。据悉,川润长银科创园1.5MWh用户侧储能项目位于东莞市黄江镇东莞市黄江镇田心村宾农一路...
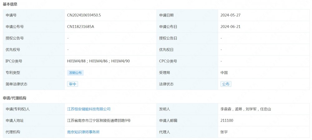
恒安储能申请公布一项发明专利:一种锌溴液流电池高性能电极及其制备方法”
2024-06-21
据储能界了解到,企查查显示,江苏恒安储能科技有限公司申请公布一项发明专利,专利名为“一种锌溴液流电池高性能电极及其制备方法”,专利申请公布号为CN1182316...
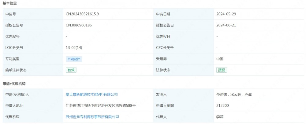
爱士惟获得实用新型专利授权:“储能逆变器上盖”
2024-06-21
据储能界了解到,企查查显示,爱士惟新能源技术(扬中)有限公司获得一项实用新型专利授权,专利名为“储能逆变器上盖”,专利授权号为CN308696018S,授权日期...
关于召开 2024(第十一届)中国国际石墨烯创新大会的通知
2024-06-21
石墨烯产业技术创新战略联盟关于召开 2024(第十一届)中国国际石墨烯创新大会的通知为面向国家重大需求,践行国家新材料自立自强新战略,着力解决关键战略材料领域的...
<<
<
2720
2721
2722
2723
2724
>
>>