搜索
首页
政策法规
国际资讯
返回
国际动态
国际项目
行业活动
国内资讯
返回
企业动态
储能项目
储能技术
储能科普
联系我们
首页
政策法规
国际资讯
返回
国际动态
国际项目
行业活动
国内资讯
返回
企业动态
储能项目
储能技术
储能科普
联系我们
none
国内资讯
企业动态
储能项目
储能技术
储能科普
您当前的位置:
首页
>
国内资讯
>
企业动态
总投资60000万元!广东省东莞市半固态锂离子电池产线建设项目获备案
2024-06-19
据储能界了解到,近日,东莞市创明电池技术有限公司半固态锂离子电池产线建设项目获得备案。据悉,东莞市创明电池技术有限公司半固态锂离子电池产线建设项目位于东莞市松山...
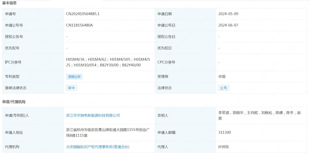
华宇钠电申请发布一项发明专利:“一种钠离子电池氧化物正极材料表面改性的方法及车辆
2024-06-19
据储能界了解到,企查查显示,浙江华宇钠电新能源科技有限公司申请公布一项发明专利,专利名为“一种钠离子电池氧化物正极材料表面改性的方法及车辆”,申请公布号为CN1...
总投资420万元!广东迪度新能源有限公司中山晨辉1.0WM/2.33MWh用户侧
2024-06-19
据储能界了解到,近日,广东迪度新能源有限公司中山晨辉1.0WM/2.33MWh用户侧工商业储能项目获得备案。据悉,广东迪度新能源有限公司中山晨辉1.0WM/2....
昌意钠电申请发布一项发明专利:“一种用于钠离子电池正极材料的原料喷雾干燥方法”
2024-06-19
据储能界了解到,企查查显示,浙江昌意钠电储能有限公司申请公布一项发明专利,专利名为“一种用于钠离子电池正极材料的原料喷雾干燥方法”,申请公布号为CN118001...
国内首次百兆瓦时构网型储能电站黑启动试验成功
2024-06-19
记者6月18日从国网湖北省电力有限公司获悉,湖北荆门新港储能电站6月17日晚间成功实施国内首个百兆瓦时构网型储能电站黑启动试验,有效检验了储能电站在极端条件下快...
<<
<
2737
2738
2739
2740
2741
>
>>