搜索
首页
政策法规
国际资讯
返回
国际动态
国际项目
行业活动
国内资讯
返回
企业动态
储能项目
储能技术
储能科普
联系我们
首页
政策法规
国际资讯
返回
国际动态
国际项目
行业活动
国内资讯
返回
企业动态
储能项目
储能技术
储能科普
联系我们
none
国内资讯
企业动态
储能项目
储能技术
储能科普
您当前的位置:
首页
>
国内资讯
>
企业动态
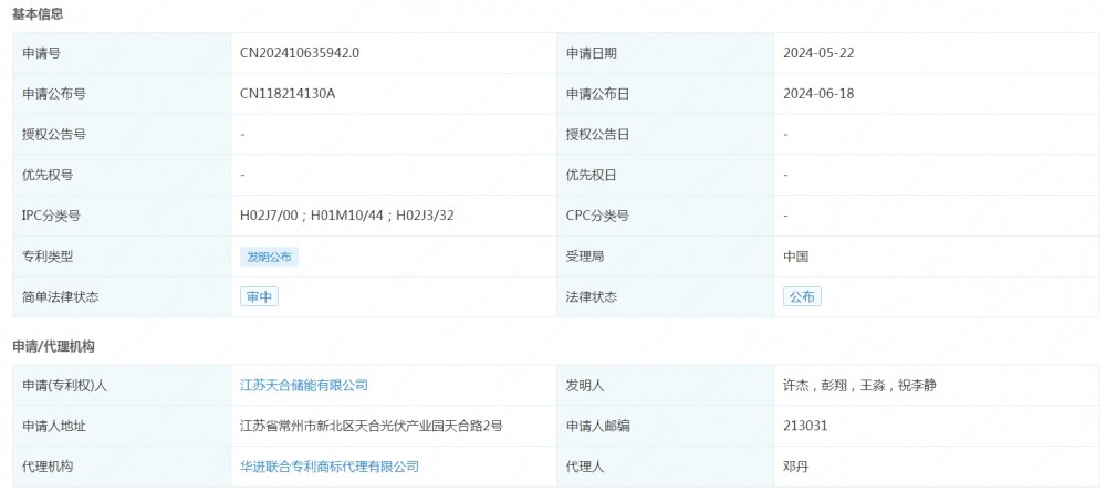
天合储能申请发布一项发明专利:“放电控制方法和储能系统”
2024-06-18
据储能界了解到,企查查显示,江苏天合储能有限公司申请公布一项发明专利,专利名为“放电控制方法和储能系统”,申请公布号为CN118214130A,申请公布日为20...
瑞欧宝能源申请发布一项发明专利:“用于电网侧储能系统的调峰调频控制方法”
2024-06-18
据储能界了解到,企查查显示,江苏瑞欧宝能源科技股份有限公司申请公布一项发明专利,专利名为“用于电网侧储能系统的调峰调频控制方法”,申请公布号为CN1182140...
27.6MW/58MWh!安徽芜湖奇瑞汽车10KV鑫鼎奇瑞储能电站并网
2024-06-18
6月15日,由中冶设备总院EPC总承包建设的芜湖奇瑞汽车10KV鑫鼎奇瑞储能电站送电完毕,标志着新型储能电源顺利纳入芜湖市电网。据悉,该项目总容量27.6MW/...
正泰安能绿电家全产品亮相SNEC 2024
2024-06-18
本次SNEC展,正泰安能绿电家携产品全新亮相覆盖合作共建、屋顶租赁、全款光伏+储能业务,向参展客商与观众展示了绿电家的业务新布局、电站管控能力以及光伏渠道优势。...
全球首次100兆瓦时构网型储能电站人工短路扰动试验完成
2024-06-18
6月15日,全球首个100MWh构网型储能电站人工短路扰动试验顺利完成,该试验由中国电科院指导,青海电科院联合鲁能新能源青海分公司、华为数字能源技术有限公司共同...
<<
<
2743
2744
2745
2746
2747
>
>>