搜索
首页
政策法规
国际资讯
返回
国际动态
国际项目
行业活动
国内资讯
返回
企业动态
储能项目
储能技术
储能科普
联系我们
首页
政策法规
国际资讯
返回
国际动态
国际项目
行业活动
国内资讯
返回
企业动态
储能项目
储能技术
储能科普
联系我们
none
国内资讯
企业动态
储能项目
储能技术
储能科普
您当前的位置:
首页
>
国内资讯
>
企业动态
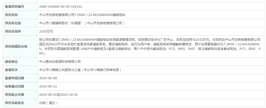
广东中山市东锐电镀有限公司7.2MW / 22.661568MWh储能电站获备案
2024-06-11
据储能界了解到,近日,中山市东锐电镀有限公司7.2MW / 22.661568MWh储能电站中山市东锐电镀有限公司7.2MW / 22.661568MWh储能电...
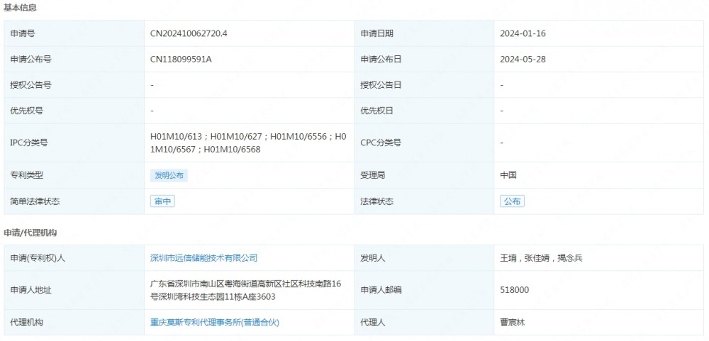
远信储能申请发布一项发明专利:“一种用于储能的液体冷却系统”
2024-06-11
据储能界了解到,企查查显示,深圳市远信储能技术有限公司申请公布一项发明专利,专利名为“一种用于储能的液体冷却系统”,申请公布号为CN118099591A,申请公...
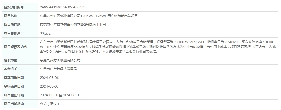
总投资30万元!广东东莞九州方圆纸业有限公司100KW/215KWH用户侧储能电
2024-06-11
据储能界了解到,近日,东莞九州方圆纸业有限公司100KW/215KWH用户侧储能电站项目获得备案。据悉,东莞九州方圆纸业有限公司100KW/215KWH用户侧储...
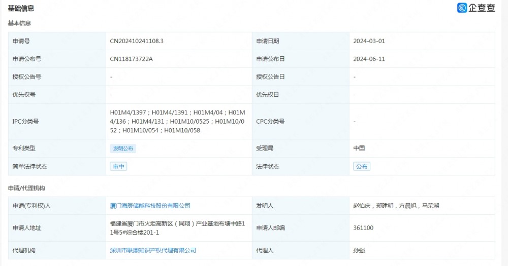
海辰储能申请公布一项发明专利:“正极片的制作方法、正极片、储能装置及用电设备”
2024-06-11
据储能界了解到,企查查显示,厦门海辰储能科技股份有限公司申请公布一项发明专利,专利名为“正极片的制作方法、正极片、储能装置及用电设备”,申请公布号为CN1181...
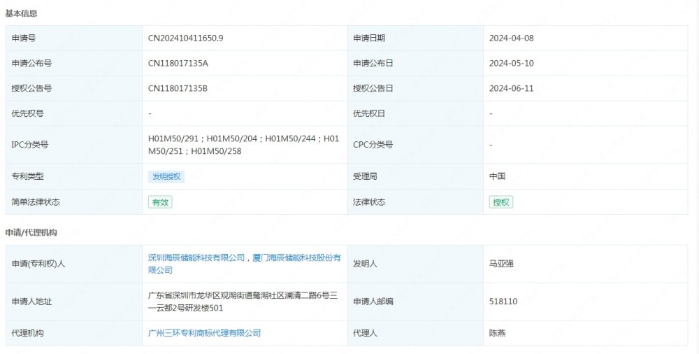
海辰储能申请授权一项发明专利:“限位件、储能装置、用电系统及储能系统”
2024-06-11
据储能界了解到,企查查显示,厦门海辰储能科技股份有限公司申请授权一项发明专利,专利名为“限位件、储能装置、用电系统及储能系统”,申请授权号为CN11801713...
<<
<
2782
2783
2784
2785
2786
>
>>