搜索
首页
政策法规
国际资讯
返回
国际动态
国际项目
行业活动
国内资讯
返回
企业动态
储能项目
储能技术
储能科普
联系我们
首页
政策法规
国际资讯
返回
国际动态
国际项目
行业活动
国内资讯
返回
企业动态
储能项目
储能技术
储能科普
联系我们
none
国内资讯
企业动态
储能项目
储能技术
储能科普
您当前的位置:
首页
>
国内资讯
>
企业动态
招标 | 拟采购9台储能设备!储能设备库存采购项目招标公告
2024-06-04
据储能界了解到,近日,德阳市公共资源交易中心?发布储能设备库存采购项目招标公告。本项目为1个包,根据公司业务需求拟采购9台储能设备(8台100kW-232kWh...
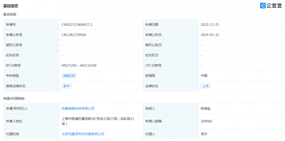
纬景储能申请公布一项发明专利:“控制混合储能系统的方法、混合储能系统及相关设备”
2024-06-04
据储能界了解到,企查查显示,纬景储能科技有限公司申请公布一项发明专利,专利名为“控制混合储能系统的方法、混合储能系统及相关设备”,申请公布号为CN1181176...
湖南湘乡市经开区100MW/200MWh储能电站规划方案公示
2024-06-04
据储能界了解到,近日,湘乡市经开区100MW/200MWh储能电站规划方案已经经过湘乡经开区管委会行政审批会及规划管理领导小组会议审批,即将进入规划许可程序。据...
招标 | 河南洛阳珑川储能科技有限公司废弃煤矿压缩空气复合储能项目招标
2024-06-04
据储能界了解到,近日,河南洛阳珑川储能科技有限公司废弃煤矿压缩空气复合储能项目招标公告发布。项目拟采用西安交通大学、河南理工大学、中国矿业大学等研发的压缩空气储...
山东烟台78.4MW/156.8MWh储能项目获环评公示
2024-06-04
据储能界了解到,6月4日,烟台市生态环境局海阳分局发布《海阳市锐阳新能源有限公司海阳市锐阳新能源辛安镇78.4MW/156.8MWh储能项目》环境影响评价文件审...
<<
<
2812
2813
2814
2815
2816
>
>>