搜索
首页
政策法规
国际资讯
返回
国际动态
国际项目
行业活动
国内资讯
返回
企业动态
储能项目
储能技术
储能科普
联系我们
首页
政策法规
国际资讯
返回
国际动态
国际项目
行业活动
国内资讯
返回
企业动态
储能项目
储能技术
储能科普
联系我们
none
国内资讯
企业动态
储能项目
储能技术
储能科普
您当前的位置:
首页
>
国内资讯
>
企业动态
2024年5月全国动力电池装车量统计数据表(按车型)
2024-06-20
...
中标 | 贤能中宁400MWh共享储能电站EPC中标候选人公示
2024-06-20
据储能界了解到,6月19日,贤能中宁200MW/400MWh共享储能电站项目EPC总承包中标候选人公示。第一中标候选人为中国能源建设集团黑龙江能源建设有限公司、...
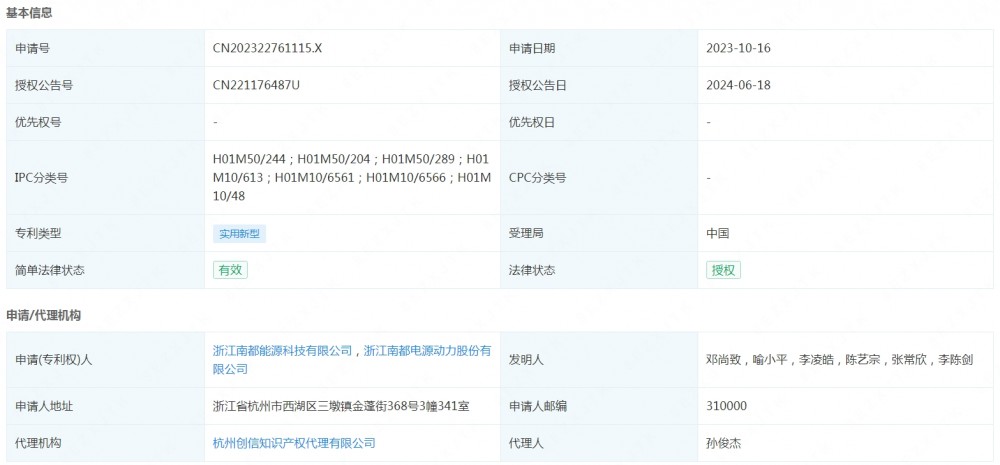
南都电源获得实用新型专利授权:“一种非步入式储能集装箱”
2024-06-20
据储能界了解到,企查查显示,浙江南都能源科技有限公司、浙江南都电源动力股份有限公司获得一项实用新型专利授权,专利名为“一种非步入式储能集装箱”,专利授权号为CN...
天能新能源申请公布一项发明专利:“一种储能锂电池性能的测试方法及装置”
2024-06-20
据储能界了解到,企查查显示,天能新能源(湖州)有限公司申请公布一项发明专利,专利名为“一种储能锂电池性能的测试方法及装置”,专利申请公布号为CN11820987...
比亚迪获得实用新型专利授权:“壳体组件、储能装置和储能系统”
2024-06-20
据储能界了解到,企查查显示,比亚迪股份有限公司获得一项实用新型专利授权,专利名为“壳体组件、储能装置和储能系统”,专利授权号为CN221176450U,授权日期...
<<
<
2729
2730
2731
2732
2733
>
>>