搜索
首页
政策法规
国际资讯
返回
国际动态
国际项目
行业活动
国内资讯
返回
企业动态
储能项目
储能技术
储能科普
联系我们
首页
政策法规
国际资讯
返回
国际动态
国际项目
行业活动
国内资讯
返回
企业动态
储能项目
储能技术
储能科普
联系我们
none
国内资讯
企业动态
储能项目
储能技术
储能科普
您当前的位置:
首页
>
国内资讯
>
企业动态
中标 | 1.376~1.661元/Wh!上海3200kWh储能项目EPC开标
2024-06-17
据能源圈了解到,6月17日,沪东重机有限公司3200kWh储能系统采购中标候选人公示发布。第一中标候选人为中船动力研究院有限公司,投标报价440.4175万元,...
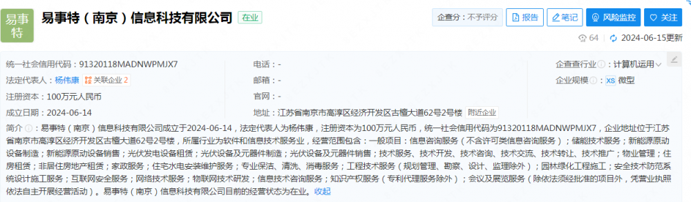
易事特成立新公司 涉及储能业务
2024-06-17
据储能界了解到,近日,易事特(南京)信息科技有限公司成立,注册资本100万元,经营范围包含:储能技术服务;新能源原动设备制造;光伏发电设备租赁;物联网技术研发等...
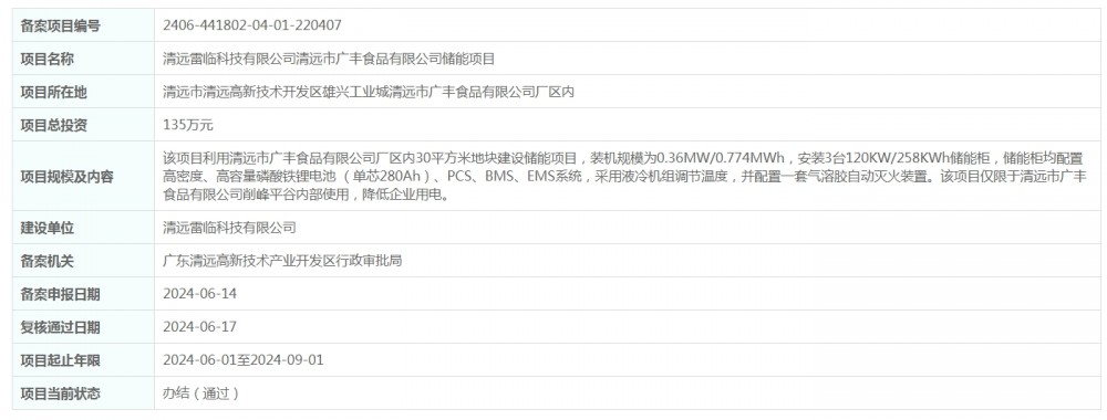
0.36MW/0.774MWh!广东清远市广丰食品有限公司储能项目获得备案
2024-06-17
据储能界了解到,近日,清远雷临科技有限公司清远市广丰食品有限公司储能项目获得备案。据悉,清远雷临科技有限公司清远市广丰食品有限公司储能项目位于清远市清远高新技术...
200MW/400MWh!广东省兴宁市新陂镇家庄管理区电网侧独立储能电站项目获备
2024-06-17
据储能界了解到,近日,兴宁市新陂镇家庄管理区电网侧独立储能电站项目获得备案。据悉,兴宁市新陂镇家庄管理区电网侧独立储能电站项目位于梅州市兴宁市新陂镇兴宁市新陂镇...
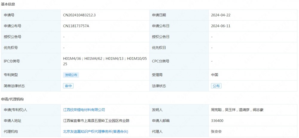
欣荣锂电申请发布一项发明专利:“复合石墨材料及其制备方法与应用”
2024-06-17
据储能界了解到,企查查显示,江西欣荣锂电材料有限公司申请公布一项发明专利,专利名为“复合石墨材料及其制备方法与应用”,申请公布号为CN118173757A,申请...
<<
<
2750
2751
2752
2753
2754
>
>>