搜索
首页
政策法规
国际资讯
返回
国际动态
国际项目
行业活动
国内资讯
返回
企业动态
储能项目
储能技术
储能科普
联系我们
首页
政策法规
国际资讯
返回
国际动态
国际项目
行业活动
国内资讯
返回
企业动态
储能项目
储能技术
储能科普
联系我们
none
国内资讯
企业动态
储能项目
储能技术
储能科普
您当前的位置:
首页
>
国内资讯
>
企业动态
总投资186万元!广东佛山佑铝金属制品有限公司用户侧储能项目获备案
2024-06-17
据储能界了解到,近日,广东佛山佑铝金属制品有限公司660kW1350kwh用户侧储能项目获得备案。据悉,广东佛山佑铝金属制品有限公司660kW1350kwh用户...
天原锂电申请发布一项发明专利:“一种磷酸铁锂正极材料的制备方法与正极材料和电池”
2024-06-17
据储能界了解到,企查查显示,宜宾天原锂电新材有限公司申请公布一项发明专利,专利名为“一种磷酸铁锂正极材料的制备方法与正极材料和电池”,申请公布号为CN11813...
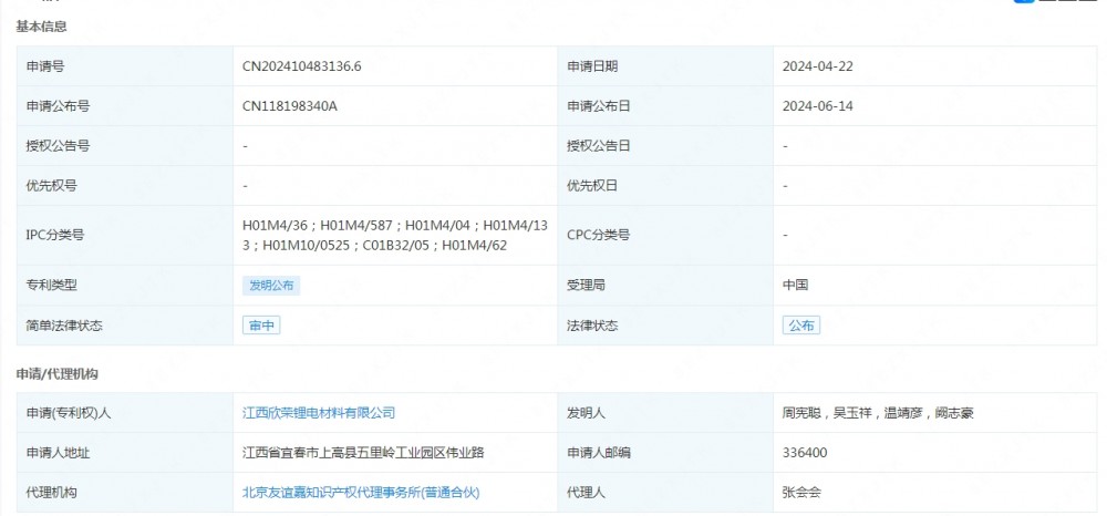
欣荣锂电申请发布一项发明专利:“复合碳材料及其制备方法、负极片、二次电池”
2024-06-17
据储能界了解到,企查查显示,江西欣荣锂电材料有限公司申请公布一项发明专利,专利名为“复合碳材料及其制备方法、负极片、二次电池”,申请公布号为CN11819834...
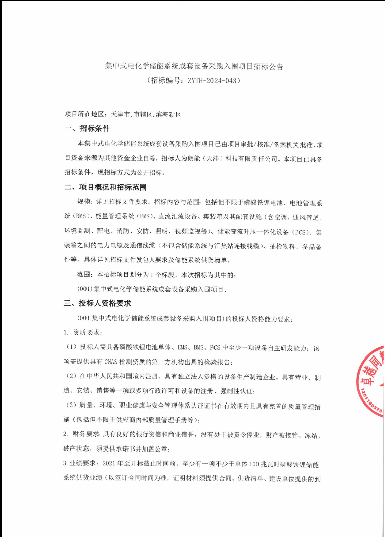
招标 | 天津集中式电化学储能系统成套设备采购入围项目招标
2024-06-17
据储能界了解到,6月17日,朗能(天津)科技有限责任公司集中式电化学储能系统成套设备采购入围项目招标公告发布。招标内容与范围包括但不限于磷酸铁锂电池、电池管理系...
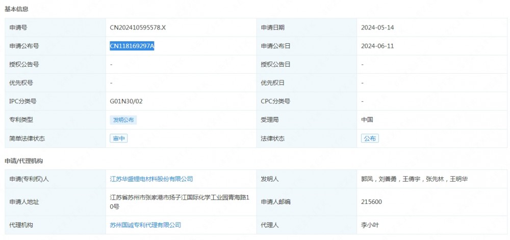
华盛锂电申请发布一项发明专利:“一种同时检测1-丙基磷酸酐、丙基磷酸和丙基磷酸二
2024-06-17
据储能界了解到,企查查显示,江苏华盛锂电材料股份有限公司申请公布一项发明专利,专利名为“一种同时检测1-丙基磷酸酐、丙基磷酸和丙基磷酸二乙酯的分析方法”,申请公...
<<
<
2751
2752
2753
2754
2755
>
>>