搜索
首页
政策法规
国际资讯
返回
国际动态
国际项目
行业活动
国内资讯
返回
企业动态
储能项目
储能技术
储能科普
联系我们
首页
政策法规
国际资讯
返回
国际动态
国际项目
行业活动
国内资讯
返回
企业动态
储能项目
储能技术
储能科普
联系我们
none
国内资讯
企业动态
储能项目
储能技术
储能科普
您当前的位置:
首页
>
国内资讯
>
企业动态
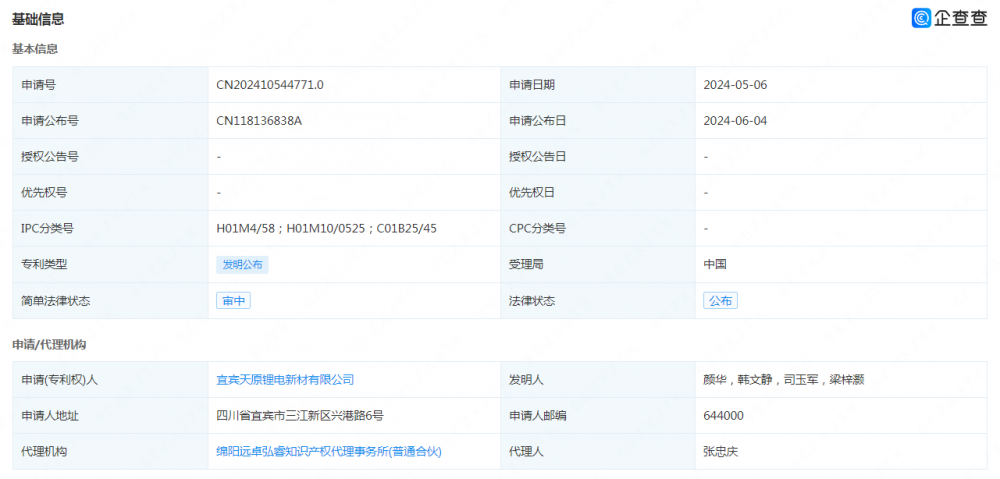
天原锂电申请公布一项发明专利:“一种磷酸铁锂正极材料的制备方法与正极材料和电池”
2024-06-06
据储能界了解到,企查查显示,宜宾天原锂电新材有限公司申请公布一项发明专利,专利名为“一种磷酸铁锂正极材料的制备方法与正极材料和电池”,申请公布号为CN11813...
签约!东渐光储再添两个上海储能项目
2024-06-06
近日,上海东渐光储科技有限公司分别与与曼茨环境技术(上海)有限公司、上海菲兹新能源科技有限公司签订能源管理合同,由东渐光储投资、建设、运维工商业储能电站项目。曼...
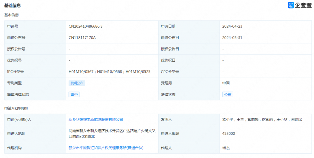
华锐锂电申请公布一项发明专利:“一种具备1000C放电性能的超高倍率放电锂离子电
2024-06-06
据储能界了解到,企查查显示,新乡华锐锂电新能源股份有限公司申请公布一项发明专利,专利名为“一种具备1000C放电性能的超高倍率放电锂离子电池电解液及其制备方法”...
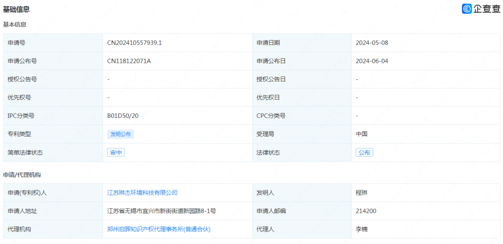
琳杰环境申请公布一项发明专利:“一种用于锂电负极材料连续预碳化的回转窑排烟过滤装
2024-06-06
据储能界了解到,企查查显示,江苏琳杰环境科技有限公司申请公布一项发明专利,专利名为“一种用于锂电负极材料连续预碳化的回转窑排烟过滤装置”,申请公布号为CN118...
配储10%、2小时以上!甘肃灵台县启动“十四五”第三批新能源项目竞争配置
2024-06-06
据储能界了解到,近日,灵台县人民政府发布灵台县“十四五”第三批新能源项目竞争性配置公告。本次共有风电10万千瓦规划规模,选址区域具体为我县具备风资源开发条件的邵...
<<
<
2798
2799
2800
2801
2802
>
>>