搜索
首页
政策法规
国际资讯
返回
国际动态
国际项目
行业活动
国内资讯
返回
企业动态
储能项目
储能技术
储能科普
联系我们
首页
政策法规
国际资讯
返回
国际动态
国际项目
行业活动
国内资讯
返回
企业动态
储能项目
储能技术
储能科普
联系我们
none
国内资讯
企业动态
储能项目
储能技术
储能科普
您当前的位置:
首页
>
国内资讯
>
企业动态
配储9MW/9MWh!重庆合川华蓥山风电项目获核准
2024-05-31
据储能界了解到,5月27日,重庆市发改委发布会关于合川华蓥山风电项目核准的批复。批复文件显示,合川华蓥山风电项目建设地点位于重庆合川区三汇镇。项目业主方为重庆绿...
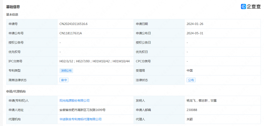
阳光电源申请公布一项发明专利:“功率均衡分配方法、装置和储能系统”
2024-05-31
据储能界了解到,企查查显示,阳光电源股份有限公司申请公布一项发明专利,专利名为“功率均衡分配方法、装置和储能系统”,申请公布号为CN118117631A,申请公...
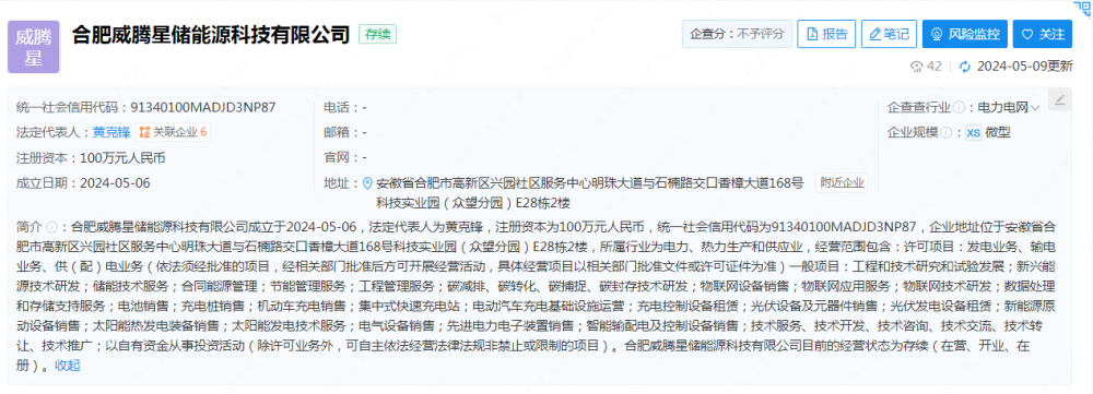
威腾电气投资成立储能新公司
2024-05-31
据储能界了解到,近日,合肥威腾星储能源科技有限公司成立,法定代表人为黄克锋,注册资本100万元,经营范围包含:新兴能源技术研发;储能技术服务;合同能源管理;节能...
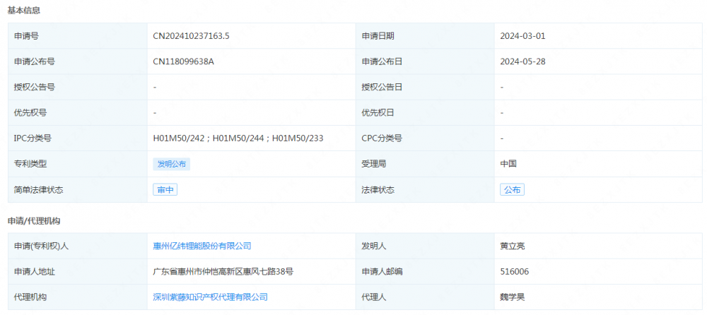
亿纬锂能申请公布一项发明专利:“电池箱梁、电池箱体及电池模组”
2024-05-31
据储能界了解到,企查查显示,惠州亿纬锂能股份有限公司申请公布一项发明专利,专利名为“电池箱梁、电池箱体及电池模组”,申请公布号为CN118099638A,申请公...
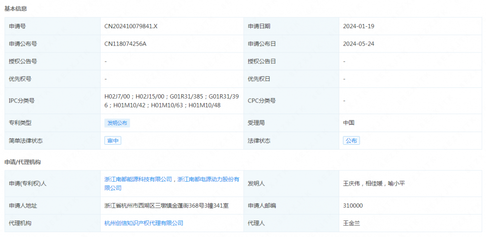
南都电源申请公布一项发明专利:“一种储能系统电性能评估方法及装置”
2024-05-31
据储能界了解到,企查查显示,浙江南都电源动力股份有限公司申请公布一项发明专利,专利名为“一种储能系统电性能评估方法及装置”,申请公布号为CN118074256A...
<<
<
2825
2826
2827
2828
2829
>
>>