搜索
首页
政策法规
国际资讯
返回
国际动态
国际项目
行业活动
国内资讯
返回
企业动态
储能项目
储能技术
储能科普
联系我们
首页
政策法规
国际资讯
返回
国际动态
国际项目
行业活动
国内资讯
返回
企业动态
储能项目
储能技术
储能科普
联系我们
none
国内资讯
企业动态
储能项目
储能技术
储能科普
您当前的位置:
首页
>
国内资讯
>
企业动态
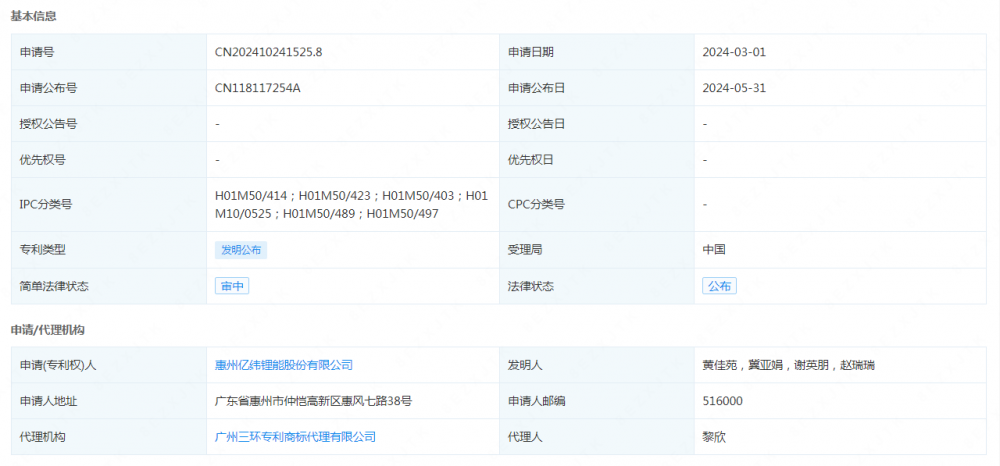
亿纬锂能申请公布一项发明专利:“一种隔膜及其制备方法与锂离子电池”
2024-05-31
据储能界了解到,企查查显示,惠州亿纬锂能股份有限公司申请公布一项发明专利,专利名为“一种隔膜及其制备方法与锂离子电池”,申请公布号为CN118117254A,申...
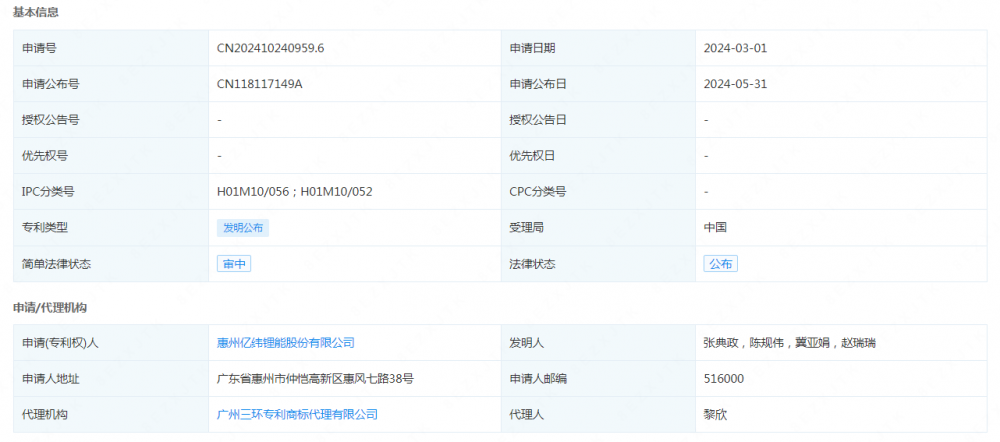
亿纬锂能申请公布一项发明专利:“一种固态电解质膜及其制备方法和应用”
2024-05-31
据储能界了解到,企查查显示,惠州亿纬锂能股份有限公司申请公布一项发明专利,专利名为“一种固态电解质膜及其制备方法和应用”,申请公布号为CN118117149A,...
湖南省:做优做强钒矿资源开发利用及后续的钒电池储能产业
2024-05-31
据储能界了解到,5月30日,湖南省自然资源厅公布对省十四届人大二次会议0422号建议的答复。答复函件指出,根据《自然资源部关于完善矿产资源规划实施管理有关事项的...
LG与松下建立锂离子电池专利池
2024-05-31
欧洲电池专利公司Tulip Innovation 推出基于 LG 能源和松下能源的锂离子电池技术的专利许可池,涵盖了来自LG和松下的锂电池关键知识产权。Tuli...
华为、比亚迪、易事特等商标入选2023年度广东省重点商标保护名录
2024-05-31
近日,广东商标协会重点商标保护委员会发布了《2023年度广东省重点商标保护名录》,易事特凭借在数字能源领域的品牌价值和市场影响力再获殊荣,与华为、比亚迪等商标一...
<<
<
2826
2827
2828
2829
2830
>
>>