搜索
首页
政策法规
国际资讯
返回
国际动态
国际项目
行业活动
国内资讯
返回
企业动态
储能项目
储能技术
储能科普
联系我们
首页
政策法规
国际资讯
返回
国际动态
国际项目
行业活动
国内资讯
返回
企业动态
储能项目
储能技术
储能科普
联系我们
none
国内资讯
企业动态
储能项目
储能技术
储能科普
您当前的位置:
首页
>
国内资讯
>
企业动态
陕西:开展风电光伏、动力电池等产品设备残余寿命评估技术研发
2024-05-30
据储能界了解到,近日,陕西省印发推动大规模设备更新和消费品以旧换新若干措施,其中明确,推进绿色交通装备能力建设。支持省内龙头企业加快提升电动重卡、乘用车等整车产...
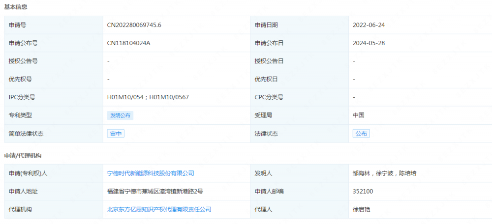
宁德时代申请公布一项发明专利:“电解液及包含其的钠离子二次电池、电池包、电池模块
2024-05-30
据储能界了解到,企查查显示,宁德时代新能源科技股份有限公司申请公布一项发明专利,专利名为“电解液及包含其的钠离子二次电池、电池包、电池模块和用电装置”,申请公布...
为物流搬运降本增效 星恒高效能锂电解决方案亮相广州物流展
2024-05-30
5月29日,2024中国(广州)国际物流装备与技术展览会在广交会展馆盛大开幕,本次展会涵盖生产、存储、输送、分拣、码垛、搬运、装卸、包装等领域,参展企业数量达到...
西南首座大型抽水蓄能电站全面投产发电
2024-05-30
5月30日,我国西南地区首座大型抽水蓄能电站国网新源重庆蟠龙抽水蓄能电站全面投产发电。国网新源重庆蟠龙抽水蓄能电站上水库俯瞰图。蟠龙抽水蓄能电站位于重庆市綦江区...
中标 | 中国国家铁路集团200kWh储能装置采购项目成交
2024-05-30
据储能界了解到,5月28日,北京纵横机电科技有限公司200kWh储能装置采购项目成交公告,项目中标人为杭州平旦科技有限公司。项目拟采购200kWh储能装置。供应...
<<
<
2832
2833
2834
2835
2836
>
>>