搜索
首页
政策法规
国际资讯
返回
国际动态
国际项目
行业活动
国内资讯
返回
企业动态
储能项目
储能技术
储能科普
联系我们
首页
政策法规
国际资讯
返回
国际动态
国际项目
行业活动
国内资讯
返回
企业动态
储能项目
储能技术
储能科普
联系我们
none
国内资讯
企业动态
储能项目
储能技术
储能科普
您当前的位置:
首页
>
国内资讯
>
企业动态
开拓铝材加工行业—威腾星储与广东金协成铝业公司储能项目合作签约
2024-05-20
近日,威腾星储公司刘琼林总经理带队到访广东金协成铝业有限公司(简称:金协成铝业)佛山总部,开展双方合作会谈,并与金协成铝业举行储能项目合作签约仪式。威腾智慧能源...
齐聚狮城,共赢智算未来 | 2024全球数据中心产业论坛成功召开
2024-05-19
2024年5月17日,以“让数字世界坚定运行”为主题的2024全球数据中心产业论坛在新加坡隆重召开。来自全球超过600位数据中心产业领袖、技术专家、生态伙伴齐聚...
突发!一大型储能电站起火(附部分储能火灾事故清单)
2024-05-19
5月15日,据美国《圣迭戈联合论坛报》报道,当地时间周四下午,消防员经过一天多的斗争,扑灭了加利福尼亚州圣迭戈县Otay Mesa(奥泰梅萨)一座储能电站的火灾...
宁德时代获得实用新型专利授权:“端盖组件、电池单体、电池以及用电装置”
2024-05-18
据储能界了解到,企查查显示,宁德时代新获得一项实用新型专利授权,专利名为“端盖组件、电池单体、电池以及用电装置”,专利授权号为CN220984771U,授权日期...
宁德时代获得实用新型专利授权:“人造石墨、二次电池、制备方法及装置”
2024-05-18
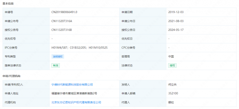
据储能界了解到,企查查显示,宁德时代新获得一项实用新型专利授权,专利名为“人造石墨、二次电池、制备方法及装置”,专利授权号为CN113207316B,授权日期为...
<<
<
2892
2893
2894
2895
2896
>
>>