搜索
首页
政策法规
国际资讯
返回
国际动态
国际项目
行业活动
国内资讯
返回
企业动态
储能项目
储能技术
储能科普
联系我们
首页
政策法规
国际资讯
返回
国际动态
国际项目
行业活动
国内资讯
返回
企业动态
储能项目
储能技术
储能科普
联系我们
none
国内资讯
企业动态
储能项目
储能技术
储能科普
您当前的位置:
首页
>
国内资讯
>
企业动态
宁德时代获得实用新型专利授权:“隔离膜、电池单体、电池及用电设备”
2024-05-18
据储能界了解到,企查查显示,宁德时代新获得一项实用新型专利授权,专利名为“隔离膜、电池单体、电池及用电设备”,专利授权号为CN220984780U,授权日期为2...
宁德时代获得实用新型专利授权:“电池和用电装置”
2024-05-18
据储能界了解到,企查查显示,宁德时代新获得一项实用新型专利授权,专利名为“电池和用电装置”,专利授权号为CN220984751U,授权日期为2024年5月17日...
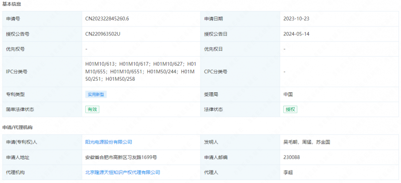
阳光电源获得实用新型专利授权:“一种电芯散热结构及储能系统”
2024-05-18
据储能界了解到,企查查显示,阳光电源新获得一项实用新型专利授权,专利名为“一种电芯散热结构及储能系统”,专利授权号为CN220963502U,授权日期为2024...
宁德时代获得实用新型专利授权:“储能单元及储能系统”
2024-05-18
据储能界了解到,企查查显示,宁德时代新获得一项实用新型专利授权,专利名为“储能单元及储能系统”,专利授权号为CN220984674U,授权日期为2024年5月1...
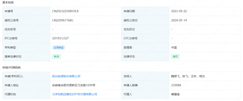
阳光电源获得实用新型专利授权:“储能系统手动维护开关插合检测装置和储能系统”
2024-05-18
据储能界了解到,企查查显示,阳光电源新获得一项实用新型专利授权,专利名为“储能系统手动维护开关插合检测装置和储能系统”,专利授权号为CN220961768U,授...
<<
<
2893
2894
2895
2896
2897
>
>>